首页
新的苹果潜望镜镜头专利可能适用于2023年的iPhone系列
返回

新的苹果潜望镜镜头专利可能适用于2023年的iPhone系列

2022-12-18 科技信息 By:佚名
最佳答案自去年以来,分析师一直声称苹果将在未来的 iPhone 系列中添加潜望镜摄像头。早在 3 月份,人们就认为我们可能要到 2023 年才能看到任何配备它的 iPhone 。无论如何,苹果潜望镜相机的新专利已经被发现。根据Patently Apple 的说法,这家库比蒂诺公司刚刚获得了欧洲专利商标局的“折叠相机&rdq...

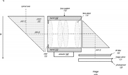
自去年以来,分析师一直声称苹果将在未来的 iPhone 系列中添加潜望镜摄像头。早在 3 月份,人们就认为我们可能要到 2023 年才能看到任何配备它的 iPhone 。无论如何,苹果潜望镜相机的新专利已经被发现。

根据Patently Apple 的说法,这家库比蒂诺公司刚刚获得了欧洲专利商标局的“折叠相机”专利。它提到在移动设备中使用多镜头系统“以低 F 值捕获高分辨率、高质量的图像”。顺便说一下,这里的 F 可能指的是镜头的光圈。基本上,它描述的是潜望镜相机模块。

此前有传言称,苹果将为 2023 款 iPhone 系列配备潜望式摄像头。但该公司可能不会将其仅限于 iPhone,因为该专利还提到了“平板电脑和平板设备”。这可能意味着 Apple 正在考虑将其添加到 iPad 中,尽管它不是最实用的实现方式。

猜你喜欢
dnf卡片怎么合成在哪里(dnf卡片合成在哪)

dnf卡片怎么合成在哪里(dnf卡片合成在哪)

12-18 0 阅读
大青沟属于哪里(大青沟)

大青沟属于哪里(大青沟)

12-18 0 阅读
帕金森有什么症状(什么是帕金森病)

帕金森有什么症状(什么是帕金森病)

12-18 0 阅读
兰州石油化工学校(关于兰州石油化工学校的介绍)

兰州石油化工学校(关于兰州石油化工学校的介绍)

12-19 0 阅读
谷歌Nest音频评测

谷歌Nest音频评测

12-18 0 阅读
我们来了2(关于我们来了2的介绍)

我们来了2(关于我们来了2的介绍)

12-19 0 阅读
热门推荐
dnf卡片怎么合成在哪里(dnf卡片合成在哪)

dnf卡片怎么合成在哪里(dnf卡片合成在哪)

12-18 0 阅读
大青沟属于哪里(大青沟)

大青沟属于哪里(大青沟)

12-18 0 阅读
帕金森有什么症状(什么是帕金森病)

帕金森有什么症状(什么是帕金森病)

12-18 0 阅读
兰州石油化工学校(关于兰州石油化工学校的介绍)

兰州石油化工学校(关于兰州石油化工学校的介绍)

12-19 0 阅读
谷歌Nest音频评测

谷歌Nest音频评测

12-18 0 阅读
我们来了2(关于我们来了2的介绍)

我们来了2(关于我们来了2的介绍)

12-19 0 阅读
tuiii什么意思(tui什么意思网络语言)

tuiii什么意思(tui什么意思网络语言)

12-18 0 阅读
考军校身高180体重多少标准(身高180体重多少标准)

考军校身高180体重多少标准(身高180体重多少标准)

12-18 0 阅读
了凡四训 净空法师(关于了凡四训 净空法师的介绍)

了凡四训 净空法师(关于了凡四训 净空法师的介绍)

12-18 0 阅读
电视是等离子好还是液晶的好啊(等离子电视和液晶电视哪个好)

电视是等离子好还是液晶的好啊(等离子电视和液晶电视哪个好)

12-18 0 阅读